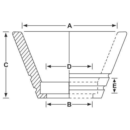
Ceramic Pouring Cup

Use the image above and supply your required Dimensions for a custom quote.

The use of pouring cup in foundry Casting Is the Part of casting system. Puts the molten metal in the Pouring Cups, which are made from high quality material, we will create pouring cup as per your requirements.